全部
常见问题
产品动态
精选推荐
功能建议

分析中 已回复 待规划 {{opt.name}}
分析中 已回复 待规划
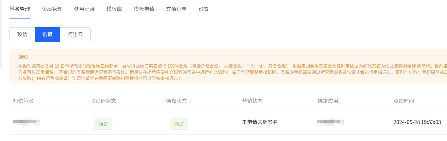
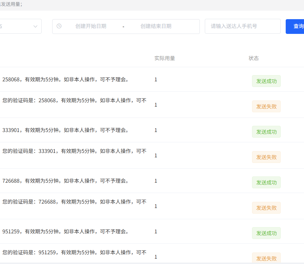
短信经常性失败

管理 管理 编辑 删除

所有操作都会发两次,一次失败,一次成功,失败也扣次数

另外实际短信并不是我们的签名,而是【西安众邦网络科技】

dba23202602021342094879.png

a62e8202602021341078991.png

c26ba202602021340015486.png

{{voteData.voteSum}} 人已参与
支持
反对
请登录后查看

青云 最后编辑于2026-02-02 13:42:37

快捷回复
回复
回复
回复({{post_count}}) {{!is_user ? '我的回复' :'全部回复'}}
排序 默认正序 回复倒序 点赞倒序

{{item.user_info.nickname ? item.user_info.nickname : item.user_name}} LV.{{ item.user_info.bbs_level || item.bbs_level }}

作者 管理员 企业

{{item.floor}}# 同步到gitee 已同步到gitee {{item.is_suggest == 1? '取消推荐': '推荐'}}
{{item.is_suggest == 1? '取消推荐': '推荐'}} 【已收集】
{{item.floor}}# 沙发 板凳 地板 {{item.floor}}# 【已收集】
{{item.user_info.title || '暂无简介'}}
附件

{{itemf.name}}

{{item.created_at}}  {{item.ip_address}}
打赏
已打赏¥{{item.reward_price}}
{{item.like_count}}
分享
{{item.showReply ? '取消回复' : '回复'}}
删除
回复
回复

{{itemc.user_info.nickname}}

{{itemc.user_name}}

回复 {{itemc.comment_user_info.nickname}}

附件

{{itemf.name}}

{{itemc.created_at}}
打赏
已打赏¥{{itemc.reward_price}}
{{itemc.like_count}}
{{itemc.showReply ? '取消回复' : '回复'}}
删除
回复
回复
收起 展开更多
查看更多
打赏
已打赏¥{{reward_price}}
246
{{like_count}}
{{collect_count}}
添加回复 ({{post_count}})

相关推荐

快速安全登录

使用微信扫码登录
回复
回复
问题:
问题自动获取的帖子内容,不准确时需要手动修改. [获取答案]
答案:
提交
bug 需求 取 消 确 定
打赏金额
当前余额:¥{{rewardUserInfo.reward_price}}
{{item.price}}元
请输入 0.1-{{reward_max_price}} 范围内的数值
打赏成功
¥{{price}}
完成 确认打赏

微信登录/注册

切换手机号登录

{{ bind_phone ? '绑定手机' : '手机登录'}}

{{codeText}}
切换微信登录/注册
暂不绑定
CRMEB客服
CRMEB咨询热线 400-8888-794

扫码领取产品资料

功能清单
思维导图
安装教程
CRMEB开源商城下载 源码下载 CRMEB帮助文档 帮助文档
返回顶部 返回顶部
CRMEB客服