多店版3.5,(微信支付商户余额有足够支持退款的金额)
管理员在门店订单列表操作退款,订单显示退款成功,用户微信也未收到退款。
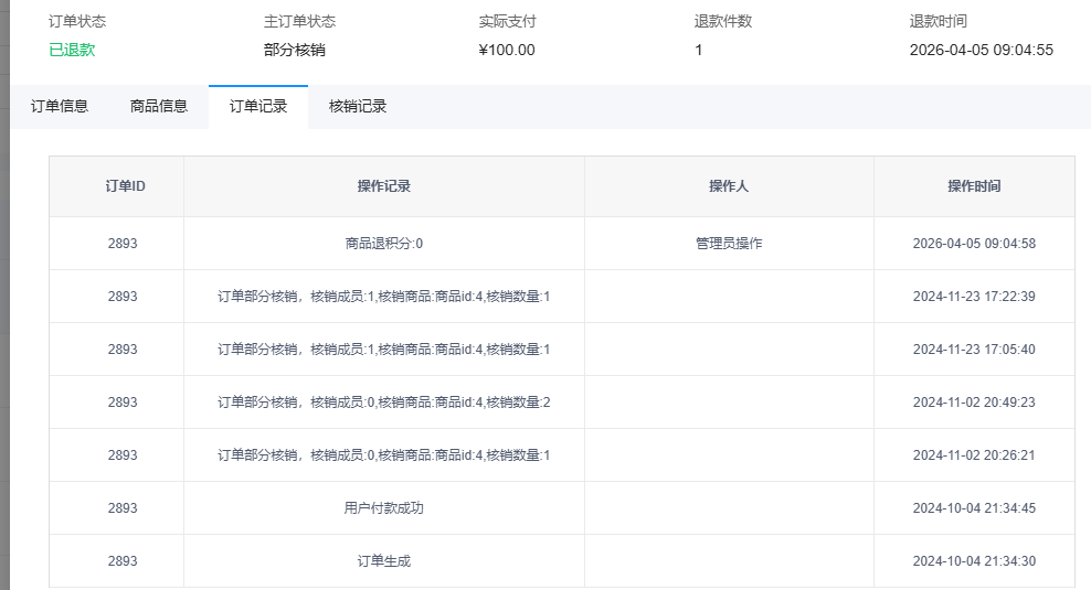
在商城后台订单显示状态为退款中。
在用户的订单列表里面,该订单状态未改变,订单详情显示已核销N件退款中,但是仍可以核销。
门店售后订单页面。

商城的门店订单售后页面状态


用户个人中心及订单状态



多店版3.5,(微信支付商户余额有足够支持退款的金额)
管理员在门店订单列表操作退款,订单显示退款成功,用户微信也未收到退款。
在商城后台订单显示状态为退款中。
在用户的订单列表里面,该订单状态未改变,订单详情显示已核销N件退款中,但是仍可以核销。
门店售后订单页面。

商城的门店订单售后页面状态


用户个人中心及订单状态



Mr·Jiang 最后编辑于2026-04-05 09:34:59
{{item.user_info.nickname ? item.user_info.nickname : item.user_name}} LV.{{ item.user_info.bbs_level || item.bbs_level }}
{{itemf.name}}
打赏
已打赏¥{{item.reward_price}}
{{itemc.user_info.nickname}}
{{itemc.user_name}}
回复 {{itemc.comment_user_info.nickname}}
{{itemf.name}}
打赏
已打赏¥{{itemc.reward_price}}
打赏
已打赏¥{{reward_price}}
相关推荐
热门文章
推荐板块
快速安全登录
微信登录/注册
{{ bind_phone ? '绑定手机' : '手机登录'}}