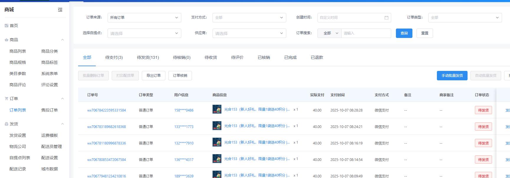
会员电商系统里边的订单列表里面没有 已发货列表!希望增加已发货的列表!好查看 已经发货的信息

会员电商系统里边的订单列表里面没有 已发货列表!希望增加已发货的列表!好查看 已经发货的信息

张继伟 最后编辑于2025-10-07 08:43:12
{{item.user_info.nickname ? item.user_info.nickname : item.user_name}} LV.{{ item.user_info.bbs_level || item.bbs_level }}
{{itemf.name}}
打赏
已打赏¥{{item.reward_price}}
{{itemc.user_info.nickname}}
{{itemc.user_name}}
回复 {{itemc.comment_user_info.nickname}}
{{itemf.name}}
打赏
已打赏¥{{itemc.reward_price}}
打赏
已打赏¥{{reward_price}}
相关推荐
热门文章
推荐板块
快速安全登录
微信登录/注册
{{ bind_phone ? '绑定手机' : '手机登录'}}